Het octrooi achter Lego

Image for patent on lego

Lego begon als een Deense speelgoedfabrikant, maar dankzij een uitgebreide en strategische aanpak van intellectuele eigendom wist het bedrijf plastic blokken om te vormen tot een wereldwijd symbool van creativiteit. Van octrooien die de fundamentele geometrie van de blokken beschermen, handelsmerken die de wereldwijd erkende naam LEGO beschermen, tot ontwerprechten die de exclusiviteit van gedetailleerde sets en een onderscheidend 3D-handelsmerk op de iconische minifiguren garanderen: Lego heeft zijn intellectuele eigendom systematisch gelaagd beschermd. Licentieovereenkomsten sinds 1998, zoals die met Star Wars en Porsche, hebben de populariteit van Lego verder versterkt.

Maar handelsmerken en licenties zouden niet van belang zijn geweest zonder een vroeg octrooi dat de basisgeometrie van de steentjes vastlegde. Amerikaans octrooi 3005282, verleend in 1961, gaf Lego 20 jaar lang het exclusieve recht om het kliksysteem van Lego te kopiëren.

Oorspronkelijke claim uit het Lego-octrooi

Octrooiconclusies lijken vaak ingewikkeld omdat ze nauwkeurige, technische taal gebruiken. Maar beschouw de conclusie als een checklist: elk vermeld kenmerk moet aanwezig zijn om sprake te zijn van inbreuk.

Hier is conclusie 1 uit Amerikaans octrooi 3005282, verleend in 1961:

"In een speelgoedbouwset, een holle bouwsteen met een rechthoekige parallellepipedumvorm, bestaande uit een bodem en vier zijwanden, ten minste vier cilindrische uitsteeksels die loodrecht naar buiten uitsteken vanaf de bodem en zijn gerangschikt in twee rijen tegenover elkaar liggende uitsteeksels om een vierkant te vormen, een buisvormig uitsteeksel dat loodrecht uitsteekt vanaf de binnenkant van de bodem en evenwijdig loopt aan de zijwanden, waarbij de lengteas van het buisvormige uitsteeksel door het midden van het vierkant loopt, en de omtrekken van de cilindrische uitsteeksels in contact komen met het buisvormige uitsteeksel en ten minste één zijwand wanneer de omtrekken geometrisch loodrecht op de bodem worden geprojecteerd, waardoor de cilindrische uitsteeksels op een van de blokken in klemverbinding kunnen worden gebracht met een buisvormig uitsteeksel en een wand van een ander van de blokken."

Image to prior art LEGO

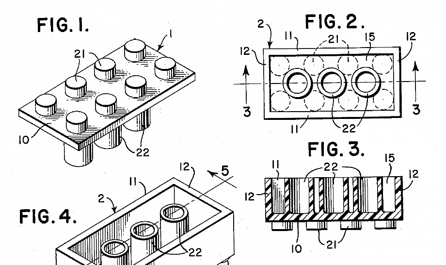
Laten we dit nu in begrijpelijkere termen uitleggen, met verwijzingen naar de figuren:

1. De claim begint met te zeggen dat het product een hol rechthoekig blok (2) is met een bodem en vier zijwanden (11, 12). Dat betekent dat de steen aan één kant open is.

2. Vervolgens staat er dat het bovenvlak ten minste vier ronde pinnen (21) heeft, die in twee rijen tegenover elkaar zijn geplaatst, zodat ze een vierkant van 2 bij 2 vormen.

3. In de holte bevindt zich een buis (22) die vanaf de bodem omhoog steekt en in het midden van dat vierkant zit.

4. De belangrijkste geometrie komt als laatste: als je een bovenaanzicht tekent, raakt de cirkel van elke nop (21) de cirkel van de binnenbuis (22) en raakt hij ten minste één binnenwand (11, 12). Door die afstand komen de pinnen (21) klem te zitten tussen de buis (22) en een wand (11, 12) van de steen, waardoor ze stevig vastzitten.

De claim in gewone taal

Dit geldt voor de gebruikelijke 2 × 4-steen met acht pinnen, zoals weergegeven in de figuren van het ingediende octrooi. Maar als je de kleur of lengte van de steen verandert of deze zelfs verkleint tot een plaat, blijft de claim van kracht, omdat aan deze vier kenmerken wordt voldaan. Dit betekent dat de oorspronkelijke claim betrekking heeft op blokken of platen met ten minste één vierkant van 4 pinnen. Deze claim had zelfs kortstondig betrekking op Duplo-blokken die tien jaar later werden geïntroduceerd.

Image for claim on patent

Verder dan het octrooi: extra lagen van intellectuele-eigendomsbescherming

De kracht van Lego's intellectuele-eigendomsbescherming reikt echter veel verder dan octrooien.

Ten eerste heeft Lego een robuuste merkbescherming voor zijn merknaam “LEGO” verworven. Merkbescherming, die bij verlenging en handhaving in principe voor onbepaalde tijd kan duren, zorgt ervoor dat consumenten hoogwaardige bouwblokken en creatief speelgoed onmiddellijk associëren met het merk Lego. De consistente branding van het bedrijf en de waakzame handhaving tegen ongeoorloofd gebruik versterken deze sterke merkidentiteit wereldwijd.

Ten tweede maakt Lego uitgebreid gebruik van modelrechten om individuele modellen en sets te beschermen, variërend van basisblokjes tot uitgebreide thema's zoals Star Wars- en Technic-modellen. Deze modelrechten bieden in de Europese Unie doorgaans bescherming voor maximaal 25 jaar (met verschillende looptijden elders), waardoor Lego het exclusieve recht behoudt op specifieke configuraties en esthetische elementen die hun consumenten direct aanspreken.

Ten slotte heeft Lego met succes een onderscheidend 3D-handelsmerk voor zijn iconische minifiguurtjes verkregen. In tegenstelling tot octrooien en modelrechten biedt een 3D-handelsmerk potentieel eeuwigdurende bescherming, mits het onderscheidend blijft en actief wordt gehandhaafd. Lego heeft in meerdere rechtsgebieden krachtig en met succes gestreden om dit handelsmerk te verdedigen, waarmee het bedrijf benadrukt hoe belangrijk het de bescherming van het unieke uiterlijk en de vorm van zijn minifiguren vindt. Deze langdurige bescherming versterkt de gelaagde IE-strategie van Lego aanzienlijk en waarborgt de voortdurende exclusiviteit van een iconisch element dat integraal deel uitmaakt van de sets en het merk.

Image to claim patent LEGO

De blijvende impact van Lego's IE-strategie

Twintig jaar lang bood het octrooi van Lego een cruciale periode van exclusiviteit, waardoor het bedrijf zijn producten kon perfectioneren, een wereldwijde aanwezigheid kon opbouwen en zijn marktleiderschap kon versterken. Maar zelfs nadat het basisoctrooi was verlopen, bleef Lego floreren en bouwde het een uitgebreide en duurzame IE-strategie op basis van handelsmerken, modelrechten, 3D-handelsmerken en verdere octrooien ter bescherming van innovaties op specifieke elementen van de bouwblokken. Vandaag de dag zorgen de sterke merkidentiteit en de zorgvuldig opgebouwde bescherming van intellectuele eigendom ervoor dat de iconische bouwblokken, creatieve sets en geliefde minifiguren van Lego generaties over de hele wereld blijven boeien en inspireren.

Avez-vous une question?

Nous serons heureux de vous aider.
Prenez librement un rendez-vous avec un de nos experts.

Rassurez-vous, vous n'êtes pas seul.
Naviguez dans la FAQ. Avez-vous encore des doutes,
n'hésitez pas à nous contacter.

FAQ